Terminal Aguablanca

Cali | Kolumbie | HINCACOM
Tento článek je dostupný také v dalších jazycích:
The Aguablanca Bus Terminal is recognised an essential project for the operation of the MIO (local transportation system), located in the southwestern Colombia in Cali city. The bus terminal has been operational since the end of August 2023 and serves an average of 50,000 passengers per working day. In addition, the terminal's 1,300m² roof space makes environmentally friendly use of photovoltaics.

The Aguablanca Bus Terminal is a project considered of great importance for the operation of the MIO, which has become a major southwestern Colombia land transport hub. It is expected to handle an average of 50 thousand passengers per working day when it is in operation. The length of the entire complex is 1,500m, of which 350m is terminal infrastructure. It is located on Carrera 28D in the city of Santiago de Cali. This bus terminal features a 250m long main platform. Major public transportation infrastructure, plays a crucial role in promoting the economic growth of urban centers. It fosters higher population densities by encouraging transit-oriented developments.

inline image in article

About the project

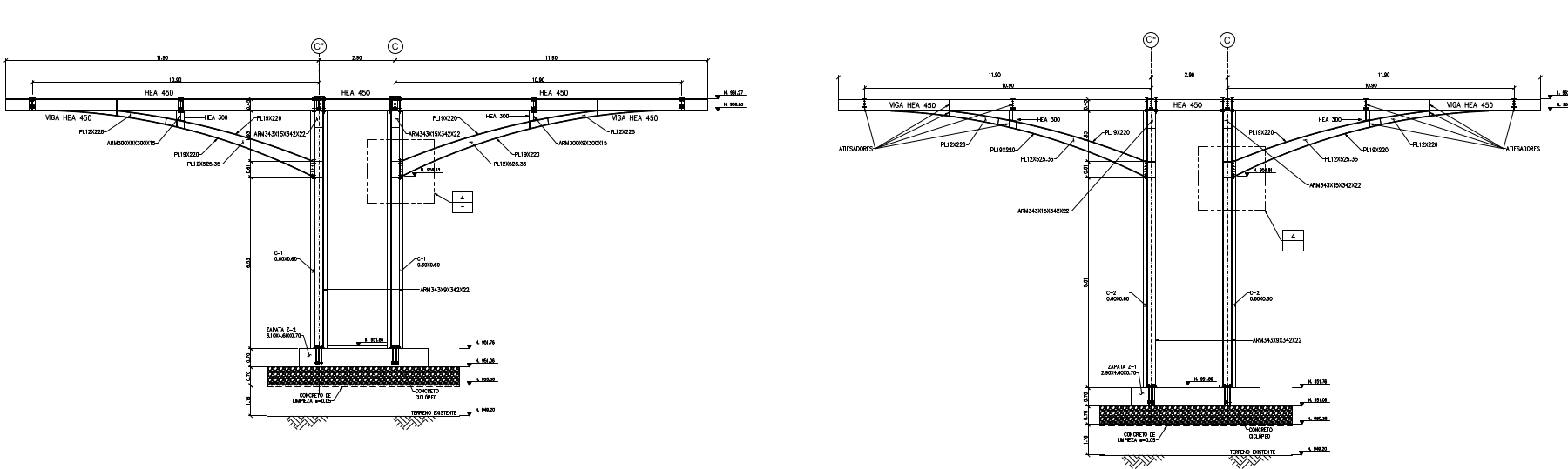
The project consists of a total of six main structures: boarding platform, the main deck, the administrative building, the bicycle parking, the restrooms and a commercial area, where the boarding platform and the main deck hall stand out for their large size and length. The deck hall has a net area of 1,300m² that shelters almost all the terminal buildings under its shade. Its configuration is in variable height, creating an arc at a maximum height of 11m that generates an architectural concept rarely seen in the city and in the area. 

inline image in article

The structural system used is formed by a steel moment frame, due to the high structural complexity caused by the insufficient column margin in the shorter direction and their long length. In enhancement, 1,300m² of eco-friendly roof space uses photovoltaic panels to help reduce the terminal's energy consumption and offset costs in the long term. 

At first glance, the roof of The Aguablanca Bus Terminal in Cali stands out as the main building above the other buildings of the terminal complex, its curved shape, height and large surface area making it an icon that all the neighbours and residents of the area would refer to it in discussions and be very proud of it.

Engineering challenges

One of the design challenges was to ensure the stiffness of the entire structure - it was preferred to create an open space. Due to the lack of load-bearing columns in the short direction (only two) and a total length of the building - more than 50m. To solve the structural needs and respect the free space, it was decided to encase the steel columns in concrete to increase their overall rigidity and load-bearing capacity. In addition, the roof has overhangs of more than 11m in length using curved steel beams of variable cross-section, which create a unique architectural treatment and are the key to its optimal design, thus not creating cost overruns in the final budget.

Solutions and results

IDEA StatiCa Connection was used in analyzing the joints and to determine their stiffness, consequently used in the global model analysis for understanding real force distribution across the load-bearing members of the structure. The connection application functionality allows users to quickly provide a comprehensive analysis of joint behavior with code-check results. The ability to analyze a connection's stiffness proved to be very powerful - as did the creation of IFC and DWG files for downstream fabricators and contractors.

inline image in article

For a realistic estimation of the composite steel-concrete section, it was important to set up the stirrup reinforcement along the entire length of the column and it was necessary to make holes for this reinforcement in the web of the curved beam at the beam-column joint. Using the IDEA StatiCa Connection software, the voids in the connection area was analyzed and information on the overall stress distribution and code checking of all the steel connection components was achieved. 

To achieve an optimal design, it was necessary to use IDEA StatiCa for calculating the stiffness of the connections, which allowed us to enrich the project with new information and recalculate the new distribution.
Daniel Garzón López
Daniel Garzón López
Structural Engineer – HINCACOM
Kolumbie

Calculation of the stiffness is essential for the correct analysis of complex structures, allowing you understanding real force distributions. Incorrect stiffness assumptions can lead to unsafe design in terms of member load-bearing capacity and deformation of the overall structure.  

Engineers all over the world use IDEA StatiCa Connection - which is proven and validated by universities around the world - and use it in their daily engineering practice. 

inline image in article

Vyzkoušejte IDEA StatiCa zdarma

Zahajte zkušební verzi ještě dnes a užijte si 14 dní plného přístupu zdarma.

OTHER CASE STUDIES

Museum of Satirical Art

Projekt vertikálního lesa

HINCACOM

HINCACOM

Kolumbie
Is an engineering company that has a multidisciplinary team of professionals in Colombia, with extensive experience and committed to providing innovative engineering solutions to its projects. Detail